Оформляйте заказ через сайт или email
- Модель:ОСТ 1 11530-74
- 1000000

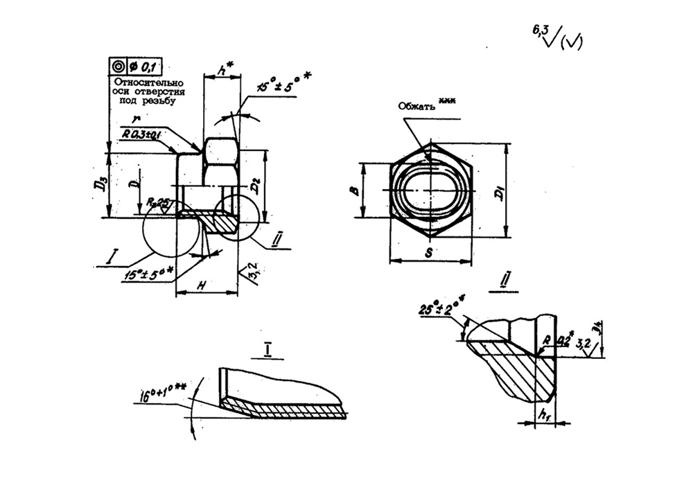
Таблица 1
| D | D1 | D2 | D3 h11 | D4 H14 | H | h | h1 ±0,1 | S h12 | r ±0,2 | B | Масса 100 шт., кг |
| min | h14 | ||||||||||
| MR4 | 7,6 | 6,3 | 4,9 | 4,2 | 5,0 | 2,0 | 0,6 | 7 | 0,6 | 4,1 | 0,042 |
| MR5 | 8,7 | 7,3 | 6,1 | 5,2 | 5,5 | 2,5 | 0,8 | 8 | 5,1 | 0,052 | |
| MR6 | 10,8 | 9,2 | 7,1 | 6,2 | 7,0 | 3,2 | 0,8 | 10 | 1,0 | 6,1 | 0,118 |
| MR8 | 13,0 | 11,0 | 9,3 | 8,2 | 9,0 | 4,0 | 1,0 | 12 | 1,6 | 8,1 | 0,200 |
| MR10 | 15,3 | 13,0 | 11,3 | 10,2 | 11,0 | 5,5 | 1,5 | 14 | 9,8 | 0,319 | |
Таблица 2
| D | Код ОКП |
| MR4 | 75 9415 1401 01 |
| MR5 | 75 9415 1402 00 |
| MR6 | 75 9415 1403 10 |
| MR8 | 75 9415 1404 09 |
| MR10 | 75 9415 1405 08 |
Пример наименования и обозначения самоконтрящейся шестигранной высокой гайки с резьбой MR6, анодированной с последующим покрытием ВАП-2:
Гайки 6-Ан.Окс/ВАП-2-ОСТ 1 11530-74
СКАЧАТЬ КАТАЛОГ КРЕПЕЖА ОСТ-1
В техническом каталоге крепежных стандартов по ОСТ-1 представлены чертежи и таблицы с размерами.








